Портативная печь Дуплет-1 Inox
 
Портативная печь Дуплет-1 Inox
Портативная дровяная печь «Дуплет» предназначена для обогрева палаток, дач, гаражей и приготовления пищи в условиях временного пребывания людей. «Дуплет» окажется хорошим подспорьем в работе и отдыхе для дачников, автолюбителей, строителей, охотников, сторожей. Через щели колосниковой решетки зола и остатки горения попадают в зольник.
Кроме того, «Дуплет» оптимально подходит для использования в чрезвычайных условиях (дикая природа, низкие температуры). Корпус печи изготовлен из жаростойкой высоколегированной стали с содержанием хрома не более 13% с толщиной стенок 1 мм.
Основные преимущества 
		 печи Дуплет
		-  01 портативность
			Компактные размеры, небольшой вес, а также удобная сумка в комплекте позволяют комфортно транспортировать печь даже в руках 
-  02 функциональность
			Печь является оригинальным и практичным подарком 
-  03эффективность
			Масса печи уменьшена, а срок ее эксплуатации увеличен благодаря применению жаростойкой легированной стали 
-  04 удобство
			Удобная поверхность предназначена для приготовления и разогрева пищи 
Основные характеристики 
		 печи Дуплет
		| 
					 Максимальная толщина стенок топки, мм | 1 | 
| 
					 Материал | 
					 Нержавеющая сталь | 
| 
					 Диаметр дымохода, мм | 63 | 
| 
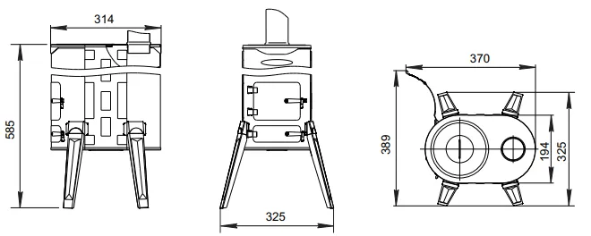
					 Габаритные размеры в транспортном состоянии (ГхШхВ), мм | 328 х 238 х 368 | 
| 
					 Габаритные размеры в рабочем состоянии (ГхШхВ), мм | 315 х 325 х 500 | 
| Срок гарантии, мес | 36 | 
| 
					 Масса изделия, кг | 4,9 | 
| 
					 Объем камеры сгорания, дм. куб | 
					 12,6 | 
| 
					 Высота модуля дымохода, м | 0,26 | 
| 
					 Максимальная длин полена, мм | 
					 310 | 
Схема устройства и установки
 
 
	
Рисунок 1. Общий вид
 
 
	
Рисунок 2. Габаритные размеры
Комплект поставки:
| Дровяная отопительно-варочная печь «Дуплет» | 1 шт | 
| Опорная ножка | 4 шт | 
| Крышка | 1 шт | 
| Модуль дымохода | 10 шт | 
| Сумка | 1 шт | 
| Руководство по эксплуатации 
 | 1 шт | 
| Упаковка | 1 шт | 
Способы оплаты
- Оплата по выставленному счету на расчётный счет компании (ИП без НДС)
- Онлайн - оплата картой на сайте компании
- Оплата наличными при получении (только в Новосибирске)
- Оплата картой по эквайринговому терминалу при получении (только в Новосибирске)
- Оплата переводом с карты на карту
- Оплата на расчетный счет компании — ИП без НДС
- Оплата на расчетный счет компании — ИП с НДС
- Доставка по г. Новосибирск осуществляется БЕСПЛАТНО при заказе от 5000 руб.*
- Доставка в другие города
- Доставка до транспортной компании
 
                                            