Электрический котел СТЭН Эко 4 кВт
Электрический котел СТЭН Эко 4 кВт
Котлы электрические отопительные СТЭН Эко. Котлы ЭКО предназначены для водяного отопления зданий, сооружений, помещений и индивидуальных жилых домов, оборудованных системой отопления с принудительной циркуляцией теплоносителя. Могут использоваться в качестве основного или резервного источника отопления.
Основные преимущества отопительного Электрокотла СТЭН
- 01 Электрокотлы СТЭН ЭКО
- это бюджетная серия котлов, предназначенных для отопления помещений площадью до 30 и до 50 м2 соответственно.
- 02 Давление
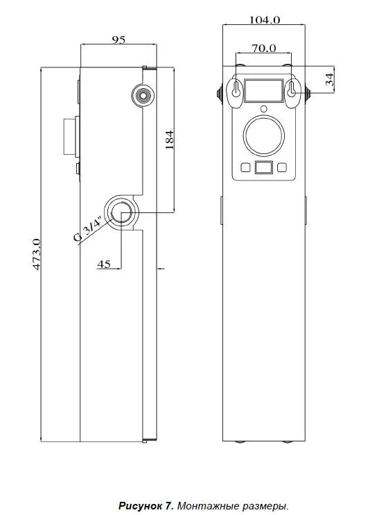
Рабочее давление 4,5 атм.
- 03 Термоизоляция и электрозащищеность
Котлы представляют собой баки со встроенным ТЭНБ. У котла ЭВП внешняя часть ТЭНБ закрыта пластиковым колпаком. Котёл ЭКО изготавливается в настенном исполнении с декоративным кожухом.
- 04 Возможность управлять
Для управления работой котлов рекомендуется использовать пульт управления электронагревателями (ПУЭ), позволяющий регулировать температуру теплоносителя в автоматическом режиме.
- 05 Выбор типа управления
В комплект поставки не входит и приобретается отдельно.
Характеристики отопительного Электрокотла СТЭН
|
Отапливаемая площадь, м2 при высоте потолка до 3м. |
40 |
|
Номинальное напряжение, В, ±10% |
220 |
|
Число фаз |
1 |
|
Номинальная потребляемая мощность, кВт, +5% -10% |
4 |
|
Давление теплоносителя в электрокотле, мПа, не более |
0,45 |
|
Присоединительная резьба патрубков системы отопления, дюйм |
G3/4" |
|
Номинальная ёмкость, л, не более |
1,2 |
|
Габаритные размеры, мм, не более (Г × Ш × В) |
100*100*450 |
|
Масса электрокотла, кг, не более |
4,7 |
|
Минимальные значения медных кабелей для подключения к электросети 220В. |
4,0 |
|
Автоматический выключатель при подключении на 220 В, А |
20 |
|
Размер резьбы фланца ТЭНБ по ГОСТ 6357-81 |
4-G1-1/4-Ч” |
|
Присоединительная резьба к системе отопления |
G 3/4” |
|
Тип блока нагревателя |
ТЭНБ-4-G 1-1/4”-Ч |
Схемы управления и устройство
Рисунок 1. Устройство котла.
Рисунок 2. Трубчатый электронагреватель блочный (ТЭНБ)


Комплект поставки:
|
1 шт. |
|
1 шт. |
|
1 шт. |
Способы оплаты
- Оплата по выставленному счету на расчётный счет компании (ИП без НДС)
- Онлайн - оплата картой на сайте компании
- Оплата наличными при получении (только в Новосибирске)
- Оплата картой по эквайринговому терминалу при получении (только в Новосибирске)
- Оплата переводом с карты на карту
- Оплата на расчетный счет компании — ИП без НДС
- Оплата на расчетный счет компании — ИП с НДС
- Доставка по г. Новосибирск осуществляется БЕСПЛАТНО при заказе от 5000 руб.*
- Доставка в другие города
- Доставка до транспортной компании
