Газовая горелка для Синара Метеорит с пьезоподжигом
Газовая горелка для Синара Метеорит с пьезоподжигом
Газогорелочное устройство с системой автоматики для банной печи «Синара Метеорит». Автоматика САБК-3ТБ4 энергонезависимое комплексное универсальное малогабаритное устройство, работающее в автоматическом режиме по заданной температуре теплоносителя в системе отопления или по температуре воздуха в отапливаемом помещении (с термодатчиком для банных печей до 120С),
Имеет несколько степеней защиты при аварийных ситуациях:
• при перегреве теплоносителя;
• при погасании пламени на запальной горелке;
• при нарушении тяги.
Основные характеристики
|
Вид топлива |
Газ |
|
Объем отапливаемого помещения, м3 |
20 |
|
Номинальная мощность, кВт |
19,2 |
|
Срок гарантии, мес |
12 |
|
Габаритные размеры (ГхШхВ), мм |
650 х 260 х 240 |
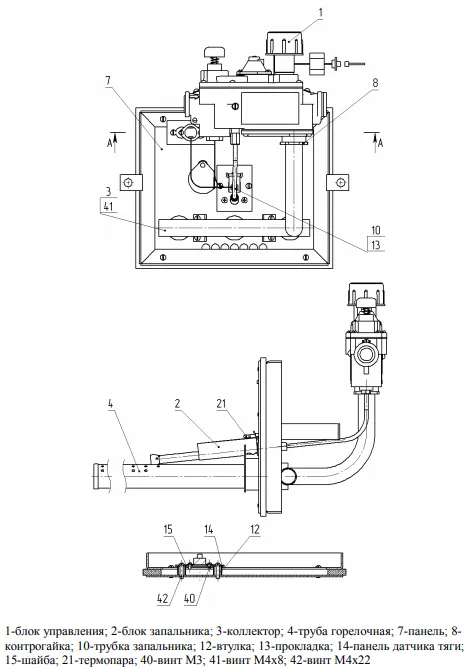
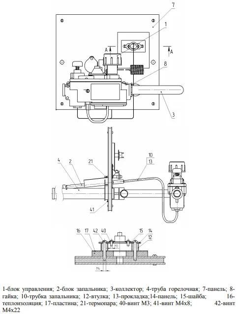
Схема устройства и установки


Рисунок 1. Схемы монтажа
Комплект поставки:
|
Газовая автоматика 820 NOVA (энергозависимая) |
1 шт |
|
Блок управления |
1 шт |
| Запальная горелка |
1 шт |
|
Термопара с датчиком тяги** |
1 шт |
|
Трубка запальной горелки |
1 шт |
|
Панель с газогорелочным устройством (ГГУ) |
1 шт |
|
Втулка* |
2 шт |
|
Панель датчика тяги*
|
1 шт |
|
Шайба |
2 шт |
|
Контргайка* |
2 шт |
|
Колено*
|
1 шт |
|
Винт М3х6 ГОСТ 17473 |
2 шт |
|
Винт М4х8 ГОСТ 17473 |
10 шт |
|
Винт М4х22 ГОСТ 17473* |
2 шт |
|
Паспорт
|
1 шт |
|
Упаковка |
1 шт |
* комплектующие поставляются по техн. заданию, согласованному с заводом изготовителем
газоиспользующих установок (потребителя) за отдельную плату.
** термопара может поставляться с кнопкой «СТОП» и с датчиком предельной температуры
Способы оплаты
- Оплата по выставленному счету на расчётный счет компании (ИП без НДС)
- Онлайн - оплата картой на сайте компании
- Оплата наличными при получении (только в Новосибирске)
- Оплата картой по эквайринговому терминалу при получении (только в Новосибирске)
- Оплата переводом с карты на карту
- Оплата на расчетный счет компании — ИП без НДС
- Оплата на расчетный счет компании — ИП с НДС
- Доставка по г. Новосибирск осуществляется БЕСПЛАТНО при заказе от 5000 руб.*
- Доставка в другие города
- Доставка до транспортной компании