Печь-тандыр НАМАНГАН
Печь-тандыр НАМАНГАН
Печь под казан НАМАНГАН может использоваться как уличный очаг. Конструкция печи - разборная, из листовой стали толщиной 3 мм. Казан в комплектацию не входит.
Многофункциональная печь для приготовления пищи на плите, в казанах разного объёма, сковороде ВОК, садже, а также в тандыре (на крестовине размещаются подвесы / шампуры / корзинка)
Печь изготовлена из листовой конструкционной стали и огнеупорного (шамотного) кирпича. Труба разборная, с встроенным шибером (заслонкой) и зонтом.
Удобные столики выполнены из термически обработанного дерева абаш, имеющего низкую теплопроводность и высокую влагоустойчивость.
Основные преимущества
Печи-тандыра НАМАНГАН
- 01 Надежность:
Жёсткий стальной каркас с шамотным кирпичом (толщиной 650мм), надёжная, теплоёмкая, универсальная конструкция
- 02 Качественные материалы:
Стальная плита толщиной 6 мм с кругами Ф 320 и Ф 450 мм – долговечная и функциональная.
- 03Удобство:
Чугунный колосник и зольный ящик облегчают обслуживание печи.
- 04ВИЗУАЛЬНОСТЬ:
Оригинальный дизайн, а также стальная топочная дверка с термостойким стеклом (с функцией обдува стекла) для визуального контроля процесса горения
- 05ПРАКТИЧНОСТЬ:
Удобные крючки-подвесы для аксессуаров (кочерга в комплекте), а также имеется крестовина с крючками для подвеса различных аксессуаров.
- 06долговечносТЬ:
Срок службы изделия – 10 лет
Характеристики Печи-тандыра НАМАНГАН
|
Размеры (Г х Ш х В), мм
|
1200 х 1400 х 1980 |
|
Масса, кг |
165 |
|
Диаметр трубы, мм |
100 |
|
Высота до варочной |
840 |
|
Материал столиков |
Термоабаш |
|
Марка стали |
Конструкционная сталь |
|
Толщина стали, мм |
3 |
|
Гарантийный срок, мес |
12 |
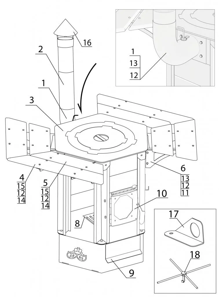
Схема устройства
Рисунок 1. Устройство печи
Рисунок 2. Обозначения и комплектация

Рисунок 3. Схема фундамента
Способы оплаты
- Оплата по выставленному счету на расчётный счет компании (ИП без НДС)
- Онлайн - оплата картой на сайте компании
- Оплата наличными при получении (только в Новосибирске)
- Оплата картой по эквайринговому терминалу при получении (только в Новосибирске)
- Оплата переводом с карты на карту
- Оплата на расчетный счет компании — ИП без НДС
- Оплата на расчетный счет компании — ИП с НДС
- Доставка по г. Новосибирск осуществляется БЕСПЛАТНО при заказе от 5000 руб.*
- Доставка в другие города
- Доставка до транспортной компании

