Отопительная печь Смуглянка 4
Отопительная печь Смуглянка-4
Печь Смуглянка предназначена для отопления палаток, блиндажей, КУНГов, бытовок, вагончиков, землянок. Печь имеет цельносварной корпус из стали толщиной 3мм. Вокруг корпуса печи находятся защитные экраны, образующие с ним три конвективных канала, усиливающих циркуляцию воздуха и ускоряющих обогрев помещения. Верхняя панель может использоваться для приготовления пищи. Печи покрыты термостойкой кремнийорганической краской.
Печи «Смуглянка» поставляются в полной комплектности (с дымовой трубой и кровельной проходкой). Для этого в корпусе печи есть ниши для хранения съемных деталей элементов, а на боковых поверхностях есть ручки для переноски. Таким образом для транспортировки печи не требуется дополнительной тары. По верхней кромке защитных экранов расположен ряд крючков и отверстий для крепления, котелков, решеток и др. предметов облегчающих походный быт.
Основные преимущества воздухогрейной печи Смуглянка
- 01 Комфортность
Данные печи являются мощными нагревателями воздуха и позволяют за короткое время достигать комфортной температуры внутри помещения
- 02 Удобство
Данные печи независимого питания, функционируют на твердом топливе: дерево, древесные отходы, картон, брикеты
- 03 Технологичность
Являются экономичными по потреблению топлива, могут функционировать по принципу «тлеющего» горения
- 04универсальность
Печи Смуглянка предназначены для отопления стационарных и передвижных объектов в походных условиях: блиндажей, палаток, кунгов, а также небольших домов
- 05Практичность
Все наружные поверхности печи окрашены жаростойкой эмалью, сохраняющей свои свойства при высокой температуре
Характеристики воздухогрейной печи Смуглянка
|
Номинальная мощность, кВт
|
6 |
|
Отапливаемая площадь, м2
|
40 |
|
Топливо
|
Дрова, брикеты |
|
КПД, %
|
70 |
|
Варочная поверхность
|
Да |
|
Глубина топки, мм
|
450 |
|
Диаметр дымохода, мм
|
100 |
|
Высота печи в сборе с дымоходом, мм
|
3875 |
|
Габаритные размеры,(Г х Ш х В) мм
|
545х385х675 |
|
Масса нетто / брутто, кг
|
50 / 51 |
|
Марка стали |
Ст3СП5 |
|
Толщина стали, мм |
3 |
Схема устройства и установки Воздухогрейной печи Барга

Рисунок 1. Устройство

Рисунок 1. Габаритные размеры

Рисунок 2. Схема установки

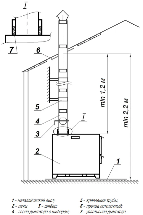
Рисунок 3. Схема монтажа печи и дымовой трубы

Рисунок 4. Варианты расположения дымовой трубы
Комплект поставки
|
Корпус печи |
1 шт |
|
Дверца загрузочная |
1 шт |
|
Паспорт и руководство по эксплуатации печи
|
1 шт |
|
Зольный ящик |
1 шт |
|
Труба прямая |
9 шт |
|
Труба прямая с шибером |
1 шт |
|
Зонтик |
1 шт |
|
Шнур термостойкий для дымохода |
1 шт |
|
Проход потолочный 320х320 |
4 шт |
Способы оплаты
- Оплата по выставленному счету на расчётный счет компании (ИП без НДС)
- Онлайн - оплата картой на сайте компании
- Оплата наличными при получении (только в Новосибирске)
- Оплата картой по эквайринговому терминалу при получении (только в Новосибирске)
- Оплата переводом с карты на карту
- Оплата на расчетный счет компании — ИП без НДС
- Оплата на расчетный счет компании — ИП с НДС
- Доставка по г. Новосибирск осуществляется БЕСПЛАТНО при заказе от 5000 руб.*
- Доставка в другие города
- Доставка до транспортной компании