Модуль управления электрическим котлом Zota GSM/GPRS Lux/MK
Модуль управления электрическим котлом Zota GSM/GPRS Lux/MK
Модуль управления ZOTA - GSM/GPRS предназначен для контроля и управления электроводонагревателями серий Zota Lux / МК-S / Smart SE / Solid с помощью мобильного телефона, через службу коротких сообщений (SMS), при помощи приложения Android или iOS или через сайт control.zota.ru.
Модуль GSM/GPRS является дополнительным комплектующим изделием указанных электроводонагревателей и может устанавливаться на все изделия, маркированные знаком «ZOTA-GSM». Для установки модуля на электроводонагреватели не имеющих данной маркировки, в блоке управления электроводонагревателя необходимо произвести доработку.
Через мобильное приложение или сайт модуль GSM/GPRS позволяет контролировать и управлять следующими параметрами:
• мощность котла;
• температура воздуха в помещении;
• температура теплоносителя;
• погодное регулирование;
• термостат;
• насос 1;
• насос 2;
• клапан;
• режим работы котла.
Через службу коротких сообщений (sms) модуль GSM/GPRS позволяет устанавливать:
• количество ступеней мощности от 0 до 3;
• температуру теплоносителя от +30 до +90°С;
• температуру воздуха в помещении от +5 до +35°С;
• режим работы встроенного термостата от 0 до 3.
Через службу коротких сообщений (sms) модуль GSM/GPRS позволяет контролировать:
• температуру теплоносителя;
• температуру воздуха в помещении;
• температуру на улице;
• режим работы термостата;
• установленное количество ступеней мощности;
• установленную температуру теплоносителя;
• установленную температуру воздуха в помещении;
• записанные в память модуля телефонные номера;
• остаток денежных средств на счете SIM-карты.
Основные характеристики модуля управления GSM/GPRS
|
Габаритные размеры модуля для изделий Lux и MK, мм |
128х103х33 |
|
Масса модуля для изделий Lux и MK, не более, г |
240 |
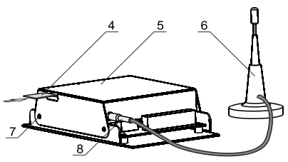
Схема устройства и установки


Рисунок 1. Подключение модуля GSM/GPRS к плате управления БУ Zota Lux/MK


Рисунок 2. Подключение модуля GSM/GPRS к антенне
Комплект поставки:
|
Модуль GSM/GPRS |
1 шт |
|
Кабель подключения модуля |
1 шт |
|
Антенна GSM/GPRS с кабелем подключения |
1 шт |
|
Коробка упаковочная |
1 шт |
|
Паспорт |
1 шт |
Способы оплаты
- Оплата по выставленному счету на расчётный счет компании (ИП без НДС)
- Онлайн - оплата картой на сайте компании
- Оплата наличными при получении (только в Новосибирске)
- Оплата картой по эквайринговому терминалу при получении (только в Новосибирске)
- Оплата переводом с карты на карту
- Оплата на расчетный счет компании — ИП без НДС
- Оплата на расчетный счет компании — ИП с НДС
- Доставка по г. Новосибирск осуществляется БЕСПЛАТНО при заказе от 5000 руб.*
- Доставка в другие города
- Доставка до транспортной компании