Отопительный котел Куппер КАРБО 34 кВт (2.0)
Отопительный котел Куппер КАРБО-34 (2.0)
Отопительный котел Куппер КАРБО-34 (2.0) - относится к серии шахтных котлов, расчитаных на использование угля в качестве основного топлива. Но, конструктивные особенности отопительных котлов линейки Куппер КАРБО (2.0) позволяют эксплуатировать их с разными видами топлива.
Шахтная конструкция котла Куппер КАРБО-34 (2.0) обеспечивает продолжительный ход горячих дымовых газов с наилучшей отдачей тепловой энергии теплообменнику.
Отопительный котел Куппер КАРБО-34 (2.0) - котел длительного горения. Продолжительность горения на одной закладке угля составляет 16 часов.
Уникальная форма шахты исключает зависание топлива. Система подвижных колосников позволит сбросить горящее топливо в объемный зольник при возникновении аварийной ситуации.
Основные преимущества отопительного котла Куппер КАРБО-34 (2.0)
- 01 УНИВЕРСАЛЬНОСТЬ
Помимо угля возможно периодическое применение кокса, дров и брикетов, а при установке газовой или пеллетной горелки - полный перед на газовое и пеллетное топливо.
- 02 удобство
Удобство загрузки топлива - съёмная воронка в комплекте. Удобная чистка - свободный доступ к теплообменнику. Удобное шурование топлива - система подвижных колосников
- 03эффективность
Продолжительность горения на одной закладке угля составляет 16 часов.
- 04 безопасность
Система отвода пиролизных газов при открытии дверцы во время работы, водонаполненное дно, сброс горящего топлива во время работы.
- 05Практичность
Развитая система многозональной подачи воздуха для максимального дожига топочных газов.
- 06 Продуманность
Уникальная форма шахты исключает зависание топлива.
Основные характеристики отопительного котла Куппер КАРБО-34 (2.0)
|
Номинальная мощность, кВт |
34 |
|
Отапливаемая площадь (при высоте потолка до 2.7м), не более, м² |
от 260 до 340 |
|
Максимальная температура теплоносителя на выходе, °С |
95 |
|
Габаритные размеры (ВхШхГ), мм |
1240х593х854 |
|
Объем загрузочной шахты, л |
85 |
|
Масса, кг |
255 |
|
Объём рубашки теплообменника, л |
100 |
|
Теплоноситель |
вода |
|
Диаметр дымохода, мм |
150 |
|
Рабочее давление в системе, МПа (кгс/кв.см) |
0,3(3) |
|
Вид топлива |
дрова, уголь, топливные брикеты |
|
Гарантия, лет |
4 |
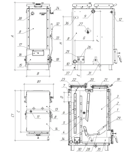
Схема устройства и установки

Рисунок 1. Устройство
Рисунок 2. Требования к высоте дымохода котла и безопасности при прохождении дымовой трубы через межэтажные перекрытия и кровлю
Рисунок 3. Схема подключения котла к открытой системе с принудительной циркуляцией теплоносителя
Рисунок 4. Схема подключения котла к закрытой системе с принудительной циркуляцией теплоносителя
Рисунок 5. Схема подключения котла к закрытой системе с принудительной циркуляцией теплоносителя с бойлером горячего водоснабжения
Рисунок 6. Схема подключения котла к закрытой системе с принудительной циркуляцией теплоносителя с рециркуляционным насосом
Рисунок 7. Схема подключения котла к закрытой системе с термостатическим трехходовым смесительным клапаном
Рисунок 8. — Схема подключения котла к закрытой системе с принудительной циркуляцией теплоносителя через гидравлический разделитель с термостатическим трехходовым смесительным клапаном
Комплект поставки:
|
Котёл |
1 шт |
|
Термометр капиллярный |
1 шт |
|
Заглушка Ду 15 (G 1/2’’) |
2 шт |
|
Заглушка Ду 20 (G 3/4’’) |
1 шт |
|
Заглушка Ду 40 (G 1 1/2’’) |
2 шт |
|
Колосник нижний подвижный |
1 шт |
|
Колосник наклонный неподвижный |
1 шт |
|
Дверца прочистная |
1 шт |
|
Дверца растопочная |
1 шт |
|
Дверца зольная |
1 шт |
|
Люк прочистной |
2 шт |
|
Винт регулировки подачи воздуха |
1 шт |
|
Винт зажимной ревизионного люка |
4 шт |
|
Винт зажимной прочистной дверцы |
2 шт |
|
Экран защитный |
1 шт |
|
Лоток защитный |
1 шт |
|
Заслонка прямого хода |
1 шт |
|
Механизм перемещения колосника |
1 шт |
|
Водило механизма перемещения колосника |
2 шт |
|
Рычаг механизма перемещения колосника |
1 шт |
|
Фиксатор-ограничитель движения рычага |
1 шт |
|
Ящик зольника |
1 шт |
|
Шуровка |
1 шт |
|
Скребок |
1 шт |
|
Шибер поворотный 150мм |
1 шт |
|
Руководство по эксплуатации |
1 шт |
|
Упаковка котла |
1 шт |
Видеообзор отопительного котла Куппер КАРБО-34 (2.0)
Способы оплаты
- Оплата по выставленному счету на расчётный счет компании (ИП без НДС)
- Онлайн - оплата картой на сайте компании
- Оплата наличными при получении (только в Новосибирске)
- Оплата картой по эквайринговому терминалу при получении (только в Новосибирске)
- Оплата переводом с карты на карту
- Оплата на расчетный счет компании — ИП без НДС
- Оплата на расчетный счет компании — ИП с НДС
- Доставка по г. Новосибирск осуществляется БЕСПЛАТНО при заказе от 5000 руб.*
- Доставка в другие города
- Доставка до транспортной компании